金贵银业:2022年亏损1.67亿元

中证智能财讯 金贵银业(002716)4月19日披露2022年年度报告贵金属工资。2022年,公司实现营业总收入33.94亿元,同比增长70.59%;归母净利润亏损1.67亿元,上年同期盈利1493.59万元;扣非净利润亏损2.04亿元,上年同期亏损1.02亿元;经营活动产生的现金流量净额为5.21亿元,上年同期为-5.50亿元;报告期内,金贵银业基本每股收益为-0.08元,加权平均净资产收益率为-8.67%。
数据统计显示,金贵银业近三年营业总收入复合增长率为-18.19%,在贵金属行业已披露2022年数据的8家公司中排名第8贵金属工资。近三年净利润复合年增长率为25.18%,排名4/8。

根据公告,公司是一家“从富含银的铅精矿及铅冶炼废渣废液中综合回收白银及铅、金、铋、锑、锌、铜、铟、钯等多种有色金属”的高新技术企业,主营业务是以白银冶炼和深加工为主,配套铅冶炼,并综合回收金、铋、锑、锌、铜、铟、钯等有价金属贵金属工资。公司的主要产品是白银和电铅,是我国白银生产出口的重要基地之一。
分产品来看,2022年度公司主营业务中,电银收入14.17亿元,同比增长67.08%,占营业收入的41.76%;电铅收入10.71亿元,同比增长59.99%,占营业收入的31.56%;综合回收产品收入3.91亿元,同比增长49.91%,占营业收入的11.53%贵金属工资。
展开全文

截至2022年末,公司员工总数为363人,人均创收934.91万元,人均创利-46.01万元贵金属工资。

2022年,公司毛利率为0.19%,同比下降6.62个百分点;净利率为-4.92%,较上年同期下降5.67个百分点贵金属工资。

分产品看,电银、电铅、综合回收产品2022年毛利率分别为-0.68%、-7.70%、25.11%贵金属工资。

报告期内,公司前五大客户合计销售金额13.13亿元,占总销售金额比例为38.69%,公司前五名供应商合计采购金额26.23亿元,占年度采购总额比例为88.45%贵金属工资。


数据显示,2022年公司加权平均净资产收益率为-8.67%,较上年同期下降9.42个百分点贵金属工资。公司2022年投入资本回报率为-3.36%,较上年同期下降5.66个百分点。

截至2022年末,公司经营活动现金流净额为5.21亿元,同比增加10.71亿元;筹资活动现金流净额-3.26亿元,同比减少11.28亿元;投资活动现金流净额-2991.25万元,上年同期为-661.99万元贵金属工资。
进一步统计发现,2022年公司自由现金流为3.19亿元,上年同期为-2.75亿元贵金属工资。

2022年,公司营业收入现金比为112.2%,净现比为-312.08%贵金属工资。

营运能力方面,2022年,公司总资产周转率为0.82次,上年同期为0.51次(2021年行业平均值为0.70次,公司位居同行业8/14);固定资产周转率为2.93次,上年同期为1.59次(2021年行业平均值为3.53次,公司位居同行业11/14);公司应收账款周转率、存货周转率分别为2157.47次、2.84次贵金属工资。

2022年全年,公司期间费用为1.93亿元,较上年减少910.55万元;期间费用率为5.69%,较上年同期下降4.47个百分点贵金属工资。其中,销售费用同比下降0.2%,管理费用同比下降23.55%,研发费用同比增长60.09%,财务费用同比增长37.76%。
根据公告,管理费用的变动主要因为上期1-3月停工停产,停工停产期间的生产折旧计入管理费用,导致本期管理费用相比上期减少;财务费用的变动主要因为本期关联方郴投供应链垫付采购资金利息增加;研发费用的变动主要因为本期计入研发费用的人工工资增加贵金属工资。

资产重大变化方面,截至2022年末,公司货币资金较上年末增加63.03%,占公司总资产比重上升4.07个百分点,主要系本期销售商品收到货款增加;固定资产较上年末减少8.29%,占公司总资产比重下降2.13个百分点;存货较上年末减少3.59%,占公司总资产比重下降0.74个百分点;预付款项较上年末减少84.74%,占公司总资产比重下降0.57个百分点贵金属工资。

负债重大变化方面,截至2022年末,公司应付账款较上年末增加100.94%,占公司总资产比重上升9.65个百分点;合同负债较上年末增加113.03%,占公司总资产比重上升0.52个百分点,主要系本期预收客户预付货款增加;长期借款较上年末增加0.02%,占公司总资产比重上升0.18个百分点;其他流动负债较上年末增加113.01%,占公司总资产比重上升0.07个百分点贵金属工资。

从存货变动来看,截至2022年末,公司存货账面价值为11.7亿元,占净资产的63.57%,较上年末减少4351.24万元贵金属工资。其中,存货跌价准备为194.98万元,计提比例为0.17%。

2022年全年,公司研发投入金额为456.49万元,同比增长60.09%;研发投入占营业收入比例为0.13%,相比上年同期下降0.01个百分点贵金属工资。此外,公司全年研发投入资本化率为0。

在偿债能力方面,公司2022年末资产负债率为55.25%,相比上年同期上升3.63个百分点;有息资产负债率为16.84%,相比上年同期上升0.18个百分点贵金属工资。

2022年,公司流动比率为1.35,速动比率为0.45贵金属工资。

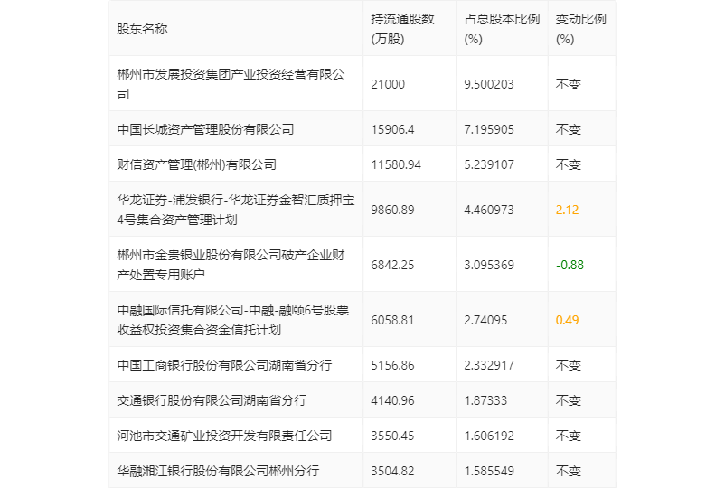
年报显示,2022年末公司十大流通股东中,持股最多的为郴州市发展投资集团产业投资经营有限公司,占比9.50%贵金属工资。十大流通股东名单相比2022年三季报维持不变。在具体持股比例上,华龙证券-浦发银行-华龙证券金智汇质押宝4号集合资产管理计划、中融国际信托有限公司-中融-融颐6号股票收益权投资集合资金信托计划持股有所上升,郴州市金贵银业股份有限公司破产企业财产处置专用账户持股有所下降。

筹码集中度方面,截至2022年末,公司股东总户数为7.26万户,较三季度末下降了16户,降幅0.02%;户均持股市值由三季度末的8.74万元上升至9.16万元,增幅为4.81%贵金属工资。










评论